Regular price
€0,97 / Unit
Regular price
€0,00
Sale price
€0,97 / Unit
Description
Specifications
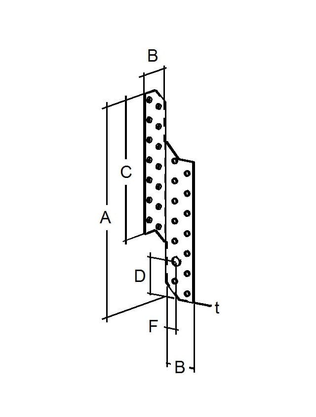
SPF parts are made of two types, right and left sides. They are designed for securing wood joints, especially in intersecting roof structures.